
SPS日本出光

如果您在找SPS SP130,建议您来深圳市仁捷塑胶进行详细了解,物美价廉,保证您满意。
亲,有关技术和销售资料请向下列地址联系索取:
联系人:唐生,财富热线:13509239386,QQ:13931677,邮箱:tjh@rjplastics.com
免费提供注注塑成型技术支持!
剖析基础创新塑料(美国)PBT508-7001材料注塑的相关注意事项 选用...
基础创新塑料(美国)PBT508-BK1066 的加工工艺简述 PBT又可称为热塑...
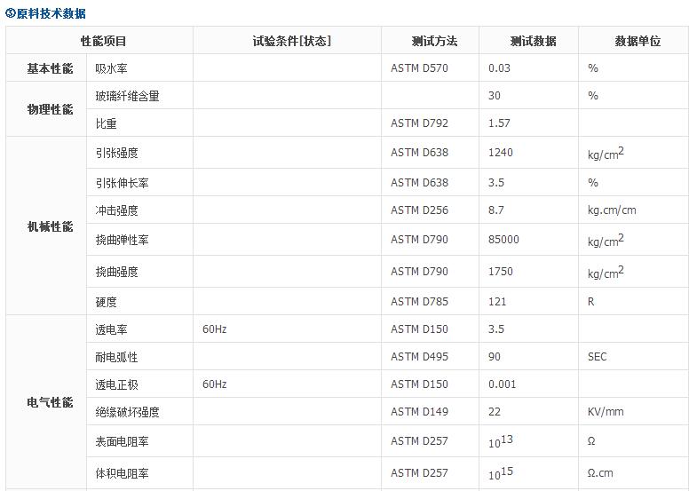
台湾南亚PBT1210G6 的各项性能介绍 1、热性能:PBT材料随玻纤维含...
台湾南亚PBT 1210G3 的主要特点 1、PBT玻璃化温度低,模具温度在...
北化院PBT 301-G30F是一种30%玻纤增强PBT,防火V0,高强度,高刚性...
北化院PBT 301-G15F是一种15%玻纤增强PBT,阻燃V0,不析出,易加工...
北化院环保阻燃增强PBT工程塑料 环保阻燃强PBT 型号 特性 应用...